
SH 56 - gaźnik C1M-S260 (037.2018)
Kategorie:
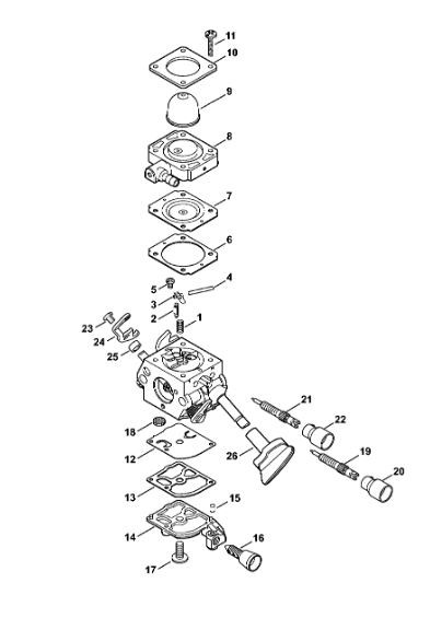
| Nr | Nr części | Nazwa | Magazyn | Cena | Ilość |
|---|---|---|---|---|---|
| 9 | 42261212700 | Kołpak | Duża ilość | 10,80 zł | |
| 26 | 42411829500 | Pokrętło | Duża ilość | 12,00 zł |
Dom Ogród Las
| Nr | Nr części | Nazwa | Magazyn | Cena | Ilość |
|---|---|---|---|---|---|
| 9 | 42261212700 | Kołpak | Duża ilość | 10,80 zł | |
| 26 | 42411829500 | Pokrętło | Duża ilość | 12,00 zł |
Aby otrzymywać informacje o promocjach i nowościach w naszym sklepie