FS 250
Poglądowe schematy






















Części do kosy STIHL FS 250 – Legendarna Moc i Prostota Konstrukcji
Model STIHL FS 250 to synonim niezawodności i surowej mocy. Ta profesjonalna kosa, choć często starszej generacji (bez zaawansowanych systemów 2-MIX/4-MIX), jest wciąż chętnie wykorzystywana w najcięższych pracach komercyjnych i leśnych dzięki silnikowi o mocy 2.2 KM. W naszym sklepie znajdziesz części do STIHL FS 250, które pozwolą utrzymać tę "pancerną" maszynę w pełnej gotowości bojowej.
Niezawodne podzespoły do silnika 2-suwowego FS 250
Konstrukcja FS 250 jest prosta i trwała, co ułatwia serwisowanie. Oferujemy pełen zakres części zamiennych i eksploatacyjnych, które pasują do specyfiki tego cenionego modelu:
- Prosty silnik 2-suwowy: Wytrzymałe tłoki, pierścienie, cylindry oraz uszczelki, zaprojektowane do pracy na wysokich obrotach.
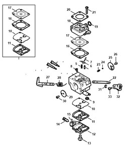
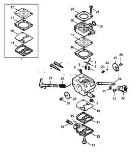
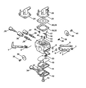
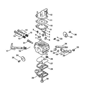
- Gaźniki i układ paliwowy: Dedykowane gaźniki (często marki Walbro lub Zama), zestawy naprawcze membran, filtry paliwa i pompki primer.
- Wytrzymały osprzęt tnący: Profesjonalne głowice tnące (np. AutoCut 40-2), tarcze tnące do zarośli i drewna, a także wzmocnione osłony.
- Układ zapłonowy: Cewki zapłonowe (moduły), świece (np. NGK BPMR7A) i przewody WN, zapewniające pewny zapłon w każdych warunkach.
- Przekładnia kątowa HD: Elementy przekładni kątowej o wzmocnionej konstrukcji, odporne na pracę z tarczami tnącymi.
Dlaczego warto wybrać nasze części do STIHL FS 250?
FS 250 jest maszyną, która nie wybacza błędów w doborze części. Niewłaściwy zamiennik może szybko doprowadzić do zatarcia silnika. Wybierając nasze produkty, zyskujesz:
- Gwarancję dopasowania: Części są precyzyjnie dedykowane do specyfikacji technicznej modelu FS 250, często starszych roczników.
- Trwałość na lata: Komponenty wykonane z materiałów najwyższej jakości, przewyższające standardowe zamienniki.
- Zachowanie oryginalnej mocy: Przywrócenie pełnych parametrów silnika 2.2 KM, niezbędnych do profesjonalnych zastosowań.
Nie ryzykuj przestojów w pracy. Zamów sprawdzone części zamienne do kosy STIHL FS 250 i ciesz się nieprzerwaną pracą swojej niezawodnej maszyny. Oferujemy szybką wysyłkę i pomoc w identyfikacji potrzebnych komponentów.
Pamiętaj: Model FS 250 wymaga precyzyjnej mieszanki paliwowej 1:50. Stosowanie odpowiedniego oleju STIHL to klucz do jego długowieczności.
Dom Ogród Las