
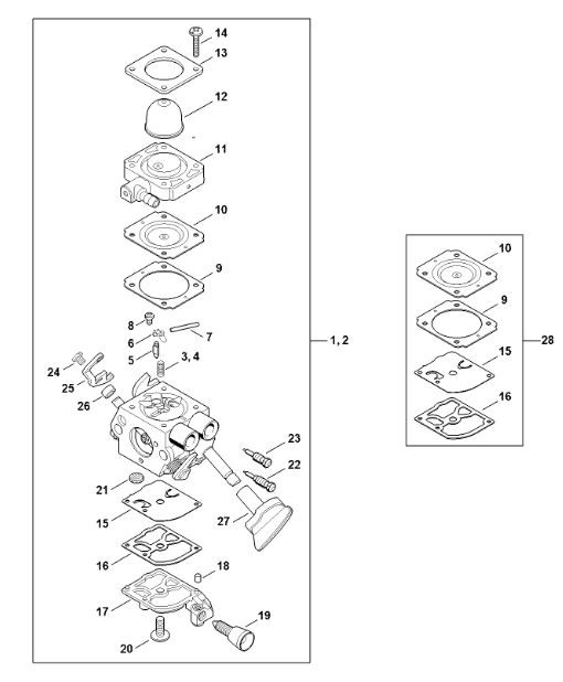
SH 56 - Gaźnik 4241/32, 4241/22
Kategorie:
| Nr | Nr części | Nazwa | Magazyn | Cena | Ilość |
|---|---|---|---|---|---|
| 1 | 42411200632 | Gaźnik 4241/32 | Średnia ilość | 245,00 zł | |
| 2 | 42411200622 | Gaźnik 4241/22 | Średnia ilość | 199,99 zł | |
| 12 | 42261212700 | Kołpak | Duża ilość | 10,80 zł | |
| 27 | 42411829500 | Pokrętło | Duża ilość | 12,00 zł | |
| 28 | 42410071700 | Zestaw podzespołów gaźnika | Duża ilość | 55,00 zł |
Dom Ogród Las