
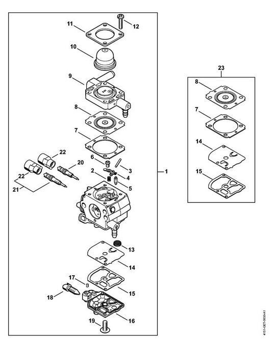
FS 235 - E - Gaźnik 4151-02
Kategorie:
| Nr | Nr części | Nazwa | Magazyn | Cena | Ilość |
|---|---|---|---|---|---|
| 1 | 41511200602 | Gaźnik 4151/02 | Duża ilość | 299,00 zł | |
| 10 | 42261212700 | Kołpak / PRIMER | Duża ilość | 10,80 zł | |
| 13 | 11231217800 | Sito | Duża ilość | 8,00 zł | |
| 23 | Z000003K006 | Zestaw uszczelek i membran | Duża ilość | 56,00 zł |
Nie możesz znaleźć interesującej Cię części na diagramie? Skontaktuj się z nami – chętnie pomożemy w doborze odpowiedniego elementu do Twojej pilarki Stihl. Napisz do nas na sklep@dom-ogrod-las.pl lub zadzwoń: +48 502 270 829. Oferujemy szeroki wybór oryginalnych części Stihl, dzięki którym Twoje urządzenie będzie działać niezawodnie.
Dom Ogród Las