
BR 200 - Gaźnik 4241/25
Kategorie:
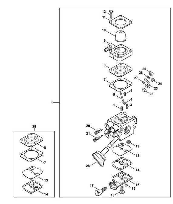
| Nr | Nr części | Nazwa | Magazyn | Cena | Ilość |
|---|---|---|---|---|---|
| 1 | 42411200625 | Gaźnik 4241/25 | Duża ilość | 245,00 zł | |
| 10 | 42261212700 | Kołpak | Duża ilość | 10,80 zł | |
| 28 | 42411829500 | Pokrętło | Duża ilość | 12,00 zł | |
| 29 | 42410071700 | Zestaw podzespołów gaźnika | Duża ilość | 55,00 zł |
BR 200 - Gaźnik 4241/25
Dom Ogród Las